91香蕉在线视频,大香蕉啪啪啪,香蕉视频三级,香蕉视频APP下载网站

    欢迎光临金湖91香蕉在线视频仪表有限公司!本公司主营:涡轮流量计,电磁流量计,涡街流量计,孔板流量计,金属管浮子流量计,磁翻板液位计等仪器仪表,联系热线:15195518515

    金湖91香蕉在线视频仪表有限公司LOGO

    金湖91香蕉在线视频仪表有限公司

    品质保证,服务周到,仪器仪表供应商

    --24小时服务热线--15195518515
    当前位置:*页>>新闻资讯>>自来香蕉视频APP下载网站安装位置

    自来香蕉视频APP下载网站安装位置

    发布时间:2021-11-20 10:33:39  点击次数:2692次

    正确地选择安装位置和正确安装自来香蕉视频APP下载网站都是非常重要的环节,若在安装环节失误,轻者影响测量精度,重者会影响自来香蕉视频APP下载网站的使用寿命,甚至会损坏自来香蕉视频APP下载网站。选择安装位置时应注意以下问题:

    1.测量电*的轴线必须近似于水平方向(与水平线夹角一般为 10°以内)

    13.jpg

    2.测量管道内必须完全充满液体。

    3.自来香蕉视频APP下载网站的前方*少要有 5×D(D 为流量计内径)长度的直管段,后方*少要有 2×D(D为流量计内径)长度的直管段。

    14.jpg

    4.流体的流动方向和自来香蕉视频APP下载网站的箭头方向一致。

    5.管道内要有真空会损坏自来香蕉视频APP下载网站的内衬,需特别注意。

    6.在自来香蕉视频APP下载网站附近应无强电磁场,仪表安装场所的磁场强度应小于 400A/m(避免安装在大型电机或变压器等设备附近)。

    7.若测量管道有振动,在自来香蕉视频APP下载网站的两边应有固定的支座。

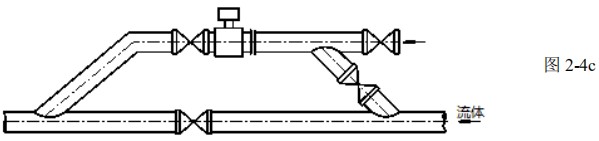
    8.测量不同介质的混合液时,混合点与自来香蕉视频APP下载网站之间的距离*少要有 30×D(D 为流量计内径)。

    9.为方便今后自来香蕉视频APP下载网站的清洗和维护,应安装旁通管道。

    15.jpg

    10.安装聚四氟乙烯内衬的自来香蕉视频APP下载网站时,连接两法兰的螺栓应注意均匀拧紧,否则容易压坏聚四氟乙烯内衬,*好用力矩扳手。

    11.仪表应避免强烈振动和过大的温度变化,同时要防止腐蚀性液体的滴漏对仪表造成损害。

    12.如果安装地点易受阳光曝晒,应当增加遮蔽设施。

    13.安装传感器时,应保证测量管与工艺管道同轴。对 50mm 及以下公称通径的传感器,其轴线偏离不超过 2mm。DN65~DN150 其轴线偏离不超过 3mm,≥DN200 其轴线偏离不超过 4mm。

    14.法兰之间加装的法兰垫圈,应有良好的耐腐蚀性能,该垫圈不得伸入管道内部。

    15.紧固仪表螺栓、螺母,其螺纹应完整无损,润滑良好。应依据法兰尺寸、力矩大小采用力矩扳手紧固螺栓。

    16.在传感器邻近管道进行焊接或火焰切割时,要采用隔离措施,防止衬里受热,且必须确认仪表未通电运行,防止损坏仪表。

    相关资讯

    网站地图