产品目录
大香蕉啪啪啪
液体流量计
香蕉视频APP下载网站
油流量计
香蕉视频三级
椭圆齿轮流量计
电磁流量计
涡街流量计
蒸汽流量计
孔板流量计
旋进旋涡流量计
热式气体质量流量计
转子流量计
浮子流量计
靶式流量计
气体流量计
超声波流量计
磁翻板液位计
浮子液位计
浮球液位计
玻璃管液位计
雷达液位计
超声波液位计
投入式液位计
压力变送器
差压变送器
液位变送器
温度变送器
热电偶
热电阻
双金属温度计
推荐产品
联系91香蕉在线视频
- 金湖91香蕉在线视频仪表有限公司
- 联系电话:15195518515
- 在线客服:1464856260
- 电话:0517-86801009
- 传真号码:0517-86801007
- 邮箱:1464856260@qq.com
- 网址:http://www.lafattehome.com
- 地址:江苏省金湖县理士大道61号
浮球液位计减小盲区的方法
发布时间:2023-06-05 10:23:03 点击次数:2210次
浮球液位计是一种利用磁耦合原理来检测液位高度的仪表。作为一种连续量测量仪表,其具有结构简单、工作可靠等优点,但实际应用中在测量盲区方面也存在一定不足。
那么,浮球液位计是如何构成的?
有没有减小盲区的方法?
减小盲区又有什么意义呢?
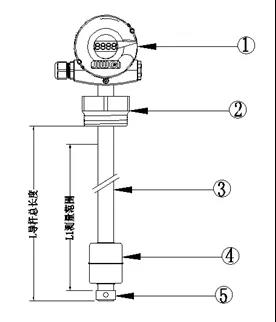
一、结构
众所周知,浮球和导杆是浮球液位计的两大关键部件。
其中,浮球内腔有强磁铁,导杆管腔内有干簧管。浮球套在导杆上能上下自由活动,导杆下端用锁紧环锁死。
当浮球随液位上下运动时,内腔的强磁铁能控制离它*近的导杆内的干簧管动作,使得信号输出,得出液位高度。

Float-11整体结构图
①表头②过程连接③导杆④浮球⑤锁紧环
二、结论
了解结构之后,不难看出测量盲区的由来,即浮球以及锁紧环的高度。
要想减小测量盲区,就要想办法减小浮球以及锁紧环的高度。
需要强调的是,无论怎么减小,浮球液位计的结构决定了它不可能完全消除盲区。
盲区减小的优点在于使得在一定高度的容器内,浮球液位计能检测更大范围的液位变化。也就是说,它能在更靠近容器底部以及容器顶部检测,从而使得测量范围更大、更精确。

上一篇:电磁流量计的电*材质有哪些下一篇:浮球液位计材质分类有哪些

